五金工具
组套工具 手动工具 气动工具
量具刃具
钨钢刀具 车床刀具 通用量具
电工电气
插头.插 电线、电 电动机
通用机械
控制器 计量标准 电子测量
仪表仪器
过程校准 测温仪 钳形表
气动、液压元件
驱动器 接头
工业耗材
汽车养护 胶管 汽车美容
劳保防护
智能交通 消防设备 防护装备
当前位置: 广州湘量工具网 > 产品分类 > 量具刃具 > 通用量具 > 千分尺 > 外径千分尺
外径千分尺
外径千分尺
数量:
加入询价单
详细信息

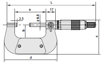
外径千分尺广泛应用于外尺寸的精密测量,(0-1000mm)符合GB标准,(1000-3000mm)符合JB标准。

编 号 测量范围 读数值 质 量(kg)
701-01 0-25mm 0.01mm 0.208
-2 25-50mm 0.332
-3 50-75mm 0.407
-4 75-100mm 0.522
-5 100-125mm 0.62
-6 125-150mm 0.811
703-01 150 -175mm 0.01mm 0.703
-2 175 -200mm 0.832
-3 200 -225mm 0.923
-4 225 -250mm 1.03
-5 250 -275mm 1.098
-6 275 -300mm 1.244
704-01 300 -400mm 0.01mm 1.9
-2 400 -500mm 2.2
-3 500 -600mm 2.9
-4 600 -700mm 3.6
-5 700 -800mm 4
-6 800 -900mm 4.7
-7 900 -1000mm 4.9

相关产品
图片 名称 货号 型号 操作
Mitutoyo 三点内径千分尺-盲孔/通孔型 Mitutoyo 三点内径千分尺-盲孔/通孔型 1H0270 1H0270|1H0271|1H0272|1H0273|1H0274|1H0275|1H0276|1H0277|1P2282|1P2283 查看
公法线千分尺 公法线千分尺 0-25mm... 0-25mm|25-50mm|50-75mm|75-100mm|100-125mm|125-150mm|150-175mm|175-200mm|200-225mm|225-250mm|250-275mm|275-300mm 查看
尖头千分尺 尖头千分尺 0-25mm..... 0-25mm 查看
Mitutoyo 防水防尘数显千分尺 Mitutoyo 防水防尘数显千分尺 1H0259 1H0259|1H0262|1H0264|1H0266 查看
Mitutoyo 防水防尘数显公法线千分尺SPC输出 Mitutoyo 防水防尘数显公法线千分尺SPC输出 1H0249 1H0249 查看
Mitutoyo 公制外径千分尺 Mitutoyo 公制外径千分尺 1S5500 1S5500|1H0233|1H0234|1H0235|1H0236|1H0237|1H0238|1P7895|1S5501|1S5502|1P7894|1S5503|1S5504|1S5505|1S5506|1S5507 查看
Mitutoyo 管材千分尺 Mitutoyo 管材千分尺 1H0244 1H0244 查看
Mitutoyo 公法线千分尺 Mitutoyo 公法线千分尺 1S5510 1S5510|1S5511|1H0248 查看
Mitutoyo 防水防尘数显三点内径千分尺套装 Mitutoyo 防水防尘数显三点内径千分尺套装 1H0280 1H0280|1H0281|1P2294 查看
深度千分尺 深度千分尺 0-25mm.... 0-25mm|0 -100mm 查看